
流量范圍 [m3/h] | Q=1~7m3/h |
| 流量范圍 [L/min] | Q=16~120L/min |
| 揚程 [m] | H=5~40m |
| 電機功率 [kW] | N=0.37kW~0.75kW |
| 液體溫度 [℃] | -15℃~+120℃ |

機床專用冷卻泵配用格蘭富式加長軸鋁殼電機,搭配日本NSK軸承及冷軋硅鋼片,具有輕型美觀,散熱快,高效率,低噪音等優良特點。
全封閉式結構,防護等級IP55,絕緣等級F級。

鑄鐵出水段表面全部采用黑色電泳漆加工處理。
具有美觀,長久耐用,油漆表面絕不脫落的優點。

底座進水段采用不銹鋼硅溶膠澆鑄工藝,數控車床批量加工生產,外形美觀,堅固耐用。
四周過濾鏤空環形能使吸水更加充分, 并能過濾較大雜物。

泵腔內部零件參照國外新技術,采用精密鑄造,數控車床,加工中心等現代化的工藝手法和加工設備。
品質不斷優化,性能提升,核心品質更加優良完美。
QDYB系列中小型機床專用冷卻泵適用于機床冷卻液、切削液、潤滑液的輸送,具體用于加工中心,磨床,車床,電火花,切屑輸送機,工業清洗設備及其它冷卻系統等。
如用戶不作要求,本廠提供中小型機床冷卻泵的電源要求均為380V、50HZ。但根據用戶要求,可提供特殊規格、特殊頻率(50HZ、60HZ)、特殊電壓(110V~660V)的電源用泵。
當機床冷卻泵在環境溫度大于40℃或海拔大于1000m時運行,由于空氣密度低冷卻效果差,電機輸出功率P2會有一定降低。泵在上述情況下運行電機功率需配大。



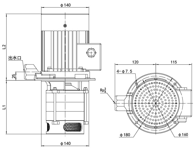
圖中尺寸為zui小安裝尺寸(如果水槽底部有特殊裝置,或水槽底部鐵屑等雜物較多時H1需適當放大):
| 型號系列 | H1(mm) | H2(mm) |
| QDYB2,4 | 25 | 55 |

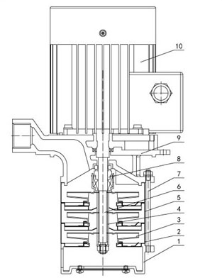
| 序號 | 名稱 | 材料 |
| 1 | 底座 | 不銹鋼 |
| 2 | 底部導流器 | 不銹鋼 |
| 3 | 葉輪 | 不銹鋼 |
| 4 | 軸套 | 不銹鋼 |
| 5 | 導流器 | 不銹鋼 |
| 6 | 軸 | 不銹鋼 |
| 7 | 拉桿 | 不銹鋼 |
| 8 | 機械密封 | 合金 |
| 9 | 出水段 | 鑄鐵 |
| 10 | 電動機 |





注:如液下長度L1有其它要求可聯系廠家。
| 型號 |
配用電機 (kw) |
流量 Q(m3/h) | 1 | 1.2 | 1.6 | 2.0 | 2.4 | 2.8 | 3.2 | 3.6 |
| QDYB2/10-131 | 0.37 |
揚程 H(m) | 9 | 8.9 | 8.7 | 8.5 | 8 | 7.6 | 7.3 | 7 |
| QDYB2/20-131 | 0.37 | 18 | 17.8 | 17.4 | 17 | 16 | 15.2 | 14.6 | 14 | |
| QDYB2/30-158 | 0.55 | 27 | 26.5 | 26 | 25.5 | 24 | 23 | 22 | 21 | |
| QDYB2/40-185 | 0.75 | 36 | 35 | 34.5 | 34 | 32 | 30.5 | 29.5 | 28 |
| 型號 |
配用電機 (kw) |
流量 Q(m3/h) | 1.8 | 2.4 | 3.0 | 4.0 | 4.8 | 6.0 | 7.0 |
| QDYB4/10-131 | 0.37 |
揚程 H(m) | 8.9 | 8.7 | 8.5 | 8 | 7.5 | 6.5 | 5 |
| QDYB4/20-158 | 0.55 | 17.8 | 17.4 | 17 | 16 | 15 | 13 | 10 | |
| QDYB4/30-185 | 0.75 | 26.5 | 26 | 25.5 | 24 | 22.5 | 19.5 | 15 | |
| QDYB4/40-185 | 0.75 | 35 | 34.5 | 34 | 32 | 30 | 26 | 20 |